Présentation de la table de cuisson ELICA PRIMIS 302 BL

À PARTIR DE
VARIATIONS DU PRIX
NOTE SUR 10
Notre site
?
Non évalué
Marchands
?
Inconnu

À retenir de la table de cuisson ELICA PRIMIS 302 BL

  • Plaque encastrable électrique
  • 2 foyers à induction
  • Technologies : Power boosterStop&Go
  • Puissance électrique max : 3700 Watts
Pour vous aider à choisir votre Table de cuisson : consultez le guide d'achat des Tables de cuisson.

Fiche Technique Electromenager-Compare* de la ELICA PRIMIS 302 BL

Introduction de la table de cuisson ELICA PRIMIS 302 BL

Désignation :
ELICA PRIMIS 302 BL
Date de sortie (approx.) :
Courant 2024

Informations générales de la table de cuisson ELICA PRIMIS 302 BL

Type :
Table de cuisson Domino (environ 30 cm)
Énergie :
Électrique
Pose / Installation :
Encastrable

Informations générales sur les foyers de la table de cuisson ELICA PRIMIS 302 BL

Foyers :
Table équipée de 2 foyers à induction.
Détails sur les foyers :
Foyer n°1 :
  • Type : induction
  • Position : à l'avant
  • Booster présent (Power booster)
  • Puissances : de 1200 à 1600 Watts
  • Format : rond
  • Diamètre : 160 mm
Foyer n°2 :
  • Type : induction
  • Position : à l'arrière
  • Booster présent (Power booster)
  • Puissances : de 1500 à 2000 Watts
  • Format : rond
  • Diamètre : 180 mm

Fonctions particulières sur les foyers de la table de cuisson ELICA PRIMIS 302 BL

Fonctions des foyers :
Fonctions des foyers électriques :
  • Booster (Power booster) : chaque foyer en est équipé
  • Maintien au chaud
  • Mise en pause (Stop&Go)
  • Minuterie

Equipements de la table de cuisson ELICA PRIMIS 302 BL

Panneau de commandes :
Cette table est pilotée par :
  • 1 jeu de commandes
  • Situé à l'avant
  • Équipé de commandes tactiles
Fonctions disponibles :
  • Température réglable sur 9 niveaux
  • Bouton On/Off présent
Afficheur :
L'afficheur permet notamment de voir :
  • Les minuteries
  • Les températures
  • Le témoin de chaleur résiduelle

Sécurités, normes et certifications de la table de cuisson ELICA PRIMIS 302 BL

Niveaux de sécurité :
Au moins niveau de sécurité : Verrouillage des commandes (sécurité enfant)

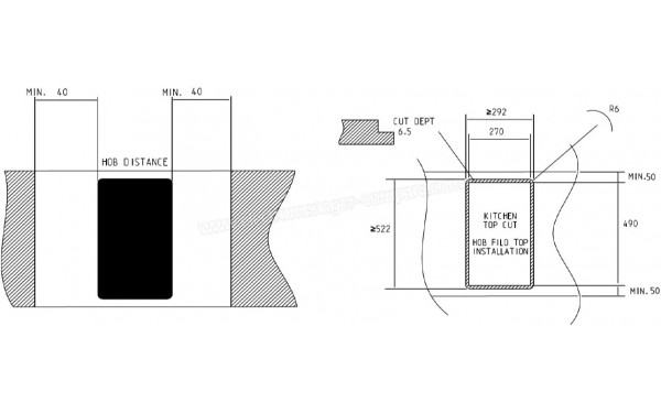
Dimensions et poids de la table de cuisson ELICA PRIMIS 302 BL

Dimensions déballé (HxLxP) :
? x 290 x 520 mm
Poids déballé :
4.71 kg
Dimensions emballé (HxLxP) :
160 x 385 x 609 mm
Poids emballé :
6.3 kg
Dim. niche (HxLxP [min/max]) :
? x 270 x 490 mm

Informations sur les énergies utilisées de la table de cuisson ELICA PRIMIS 302 BL

Gestion énergies :
Compatible limiteur de puissance
Puissance max. électrique :
3700 Watts
Informations électriques :
220-240 V • 50/60 Hz

Informations diverses de la table de cuisson ELICA PRIMIS 302 BL

Aspect / Couleurs :
Couleur principale : Noir
Référence (EAN et/ou UPC) :
PRF0199858 (8020283059825)

Marchands et Prix* pour la ELICA PRIMIS 302 BL

En stock
Livraison estimée sous 10 jours ouvrés à domicile
Livraison
(en pied de logement)
Constructeur/Marque
306.99 €
299.00 €
+ port 7.99 €
En stock
Livraison estimée sous 10 jours ouvrés à domicile
Livraison
(en pied de logement)
Constructeur/Marque
444.14 €
444.14 €
port gratuit

Avis et Notes de la ELICA PRIMIS 302 BL

Electromenager Compare
?
Aucun avis n'a encore
été déposé sur le site
DÉPOSER UN AVIS
SITES MARCHANDS
?
Aucun avis n'a été relevé
chez les marchands partenaires.
Avis des utilisateurs Electromenager Compare pour la ELICA PRIMIS 302 BL
Aucun avis n'a encore été déposé pour ce produit sur Electromenager COMPARE !
ODR BONS PLANS